迄今为止,在各种机构和机器的管理中,各种设计的受控联轴器被广泛使用。组合加强连杆的改进之一是齿轮离合器(图 1),以超越离合器的形式实现。这种齿轮离合器的设计包括一个强大的加强链接,其形式为带有电子电磁控制的后视镜超越离合器(图 2)。这种链接的存在以及针对该元件开发的控制算法使得为各种移动技术系统创建高度可靠、创新和具有竞争力的进口替代自动动力传输系统成为可能。
离合器齿轮除了传递扭矩外,还执行安全离合器的功能,即当扭矩较高时,发生打滑。由于其中摩擦键的动态各向异性的实现,该链接的放大系数K us →∞ 。

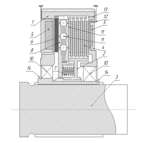
图1–低速移动技术系统齿轮联轴器图:
1 –主动半联轴节; 2 –从动半联轴节;3 –轴;4 –摩擦片组;5 –电磁体启动器; 6 – 浮盘;7 –复位弹簧;8 –主驱动盘; 9 – 滚动体;10 –轴承; 11 –从动驱动盘;12 –花键结合;13 –螺纹;14 –锁紧圈

离合器示意图
1 –从动半联轴节;2 – 旋转体;3 – 动半联轴节;4 – 主动轴;5 – 电磁体

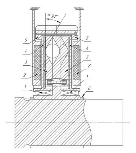
图3–快速及高速技术系统现代化齿轮联轴器图:
1 –滚子轴承;2 –电磁体启动器;3 –驱动盘;4 –金属陶瓷片;5 – 半主体;6 –花键结合.
尽管有许多优点,但离合器并非没有缺点,主要是需要使用对摩擦子系统具有可变幅度和频率影响的共振电磁动态作用源(电磁体)。
在开发的自动变速箱中,考虑了某些特征,这使得可以排除在从一个档位转换到另一个档位期间传输动力流中断和存在高水平动态负载的现象,因为齿轮离合器是协调系统,换句话说,它们使驱动轴和从动轴的旋转速度同步。此外,该变速箱通过使用后视镜超越离合器实现了成功和高效的发动机制动,并且由于其简单性而具有高度的可靠性。
采用双轴系统作为主要自动变速器方案,仅使用一个齿轮即可实现从一档到五档的所有档位,能量转换效率等级高达0.98,与已知的技术方案相比,该系统的能量转换效率等级是最高的。


俄文版